Тренажер перекладина/брусья навесной арт. ОС-07008
1. Тренажер перекладина/брусья предназначен для выполнения различных гимнастических упражнений на шведской стенки, сочетает в себе турник, брусья, а также перекладину для подтягивания из виса лежа, является универсальным средством для развития силовых способностей. Максимальная нагрузка – 100 кг.
Устройство изделия:
Турник/брусья навесной на гимнастическую стенку представляет собой сварную конструкцию, выполненую из металлических труб с диаметром 25 мм. Поверхность тренажера окрашена порошковым напылением в электростатическом поле.В спортивных залах тренажер навешивается на гимнастическую стенку.
2. Применяемые материалы:
Труба стальная D25х1,5 мм
Лист 3,0 мм
• Высота конструкции – 570 мм
• Длина конструкции – 1070 мм
• Ширина конструкции – 480 мм
• Турник:
Рабочая длина перекладины – 1070 мм
Вылет перекладины – 425 мм
Диаметр хвата -25 мм
• Брусья:
Рабочая длина брусьев – 360 мм
Вылет брусьев – 515 мм
Ширина брусьев (внутренний размер) - 650 мм
Ширина брусьев (внешний размер) - 700 мм
Диаметр хвата – 25 мм
3. Инструкция по монтажу
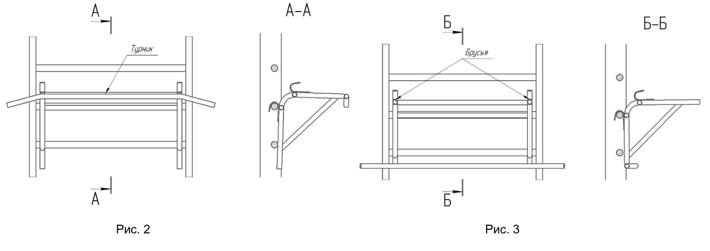
3.1 Зафиксировать турник на необходимой высоте на гимнастической стенке. Пример установки показан на рис. 2. Убедиться, что крюки турника плотно держатся за перекладину.
3.2 Зафиксировать брусья на необходимой высоте на гимнастической стенке. Пример установки показан на рис. 3. Убедиться, что крюки брусьев плотно держатся за перекладину.

4. Указание по технике безопасности
4.1 Изделие разрешается эксплуатировать только в полностью собранном и установленном виде.
4.2 Изделие может быть использовано только в предусмотренных для него целях. Использование Изделия не по назначению – недопустимо и опасно. Производитель не несет ответственность за ущерб и повреждения, возникшие в результате использования Изделия в не предусмотренных для него целях. Поврежденные детали могут причинить вред Вашему здоровью и сократить срок эксплуатации Изделия. При износе или повреждении деталей Изделие нужно вывести из эксплуатации и сразу же заменить детали новыми. Для замены используйте только оригинальные детали.
4.3 Периодически, не реже одного раза в месяц, необходимо проверять комплектность и надежность затяжки всех крепежных соединений, а элементы конструкции на отсутствие трещин и других повреждений. В случае выявления каких-либо повреждений, дальнейшая эксплуатация Изделия возможна только после их устранения.
5. Правила хранения
Изделие хранить в помещении, обеспечивающем сохранность изделия от механических повреждений, попадания влаги и действия агрессивных сред.
6. Гарантия производителя
6.1 Изготовитель гарантирует надежную и безотказную работу изделия и его комплектующих, при
соблюдении потребителем условий транспортировки, хранения, монтажа и правил эксплуатации и обслуживания.
6.2 Срок гарантии устанавливается 12 (двенадцать) мес. с даты продажи изделия предприятием
изготовителем.
6.3 Гарантия распространяется на производственные дефекты и дефекты материалов.
6.4 Гарантия не распространяется на повреждения защитно-декоративного покрытия (сколы, царапины, естественный износ), истирание защитно-декоративного покрытия по местам контакта сопрягаемых деталей, потеря блеска, помутнение, обесцвечивание в процессе эксплуатации изделия, коррозийные поражения стыков деталей, сварных швов, мест креплений резьбовых соединений, а так же износ дополнительных комплектующих, не входящих в базовую комплектность поставки.
6.5 В течение гарантийного срока владелец имеет право на замену изделия, содержащего дефекты производства.
6.6 Без предъявления гарантийного талона и письменно оформленной претензии, рекламации по качеству продукции не принимаются.